Gate交割合約目前支持以USDT(U本位)進行結算的合約交易。
交割合約的特點與永續合約大致相同,可以根據市場行情變動來操作看漲或看跌以實現盈利,但是交割合約有交割日期,無法長期持有。
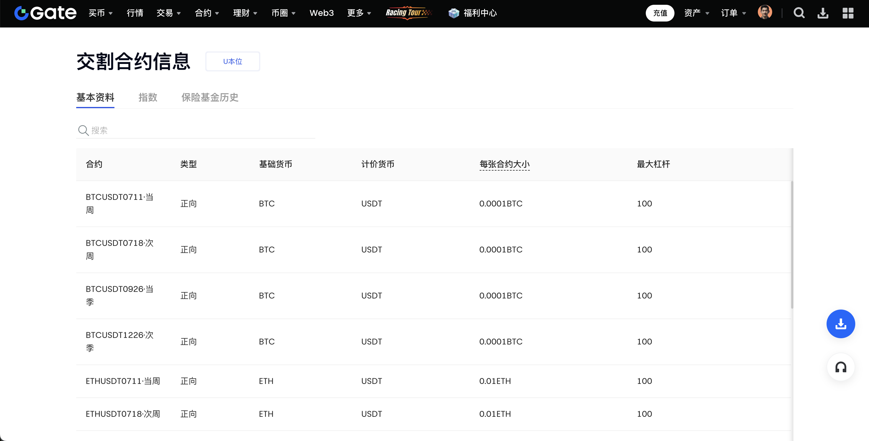
交割合約支持的合約類型可查看合約信息。如圖:

USDT本位交割合約盈虧計算與永續普通正向合約計算公式一致
盈虧 = 倉位大小 x 合約乘數 x(平倉價 - 開倉價)
合約乘數可查詢合約信息
注意
- 交割合約在到達交割日期之前用戶自己主動平倉,平倉價格以成交價格為準.
- 交割合約到達交割日期後由系統結算,平倉價格以結算價格為準.
- 上述計算均不計入手續費。
以BTC_USDT0924·當季合約為例
用戶做空1,000 張BTCUSDT0924·當季合約,通過合約信息可知該交易對合約乘數為0.0001 BTC,用戶開倉均價為36416.75 USDT,假設結算價格或者平倉價格為37316.23 USDT。
則該用戶此次合約交易的盈虧為:
-1000 x 0.0001 x(37316.23 - 36416.75)= - 89.948 USDT
即該用戶虧損89.948USDT。
本產品最終解釋權歸Gate所有。
